Apple údajně připravuje headset pro rozšířenou realitu
Plán na rok 2019 má Apple jasně daný. Chce přijít s náhlavní soupravou pro rozšířenou realitu. Zájem společnosti o tuto technologii je již nějakou dobu známý, ale až nyní to vypadá, že nabírá reálné obrysy.
Generální ředitel Applu Tim Cook v nedávné zprávě prohlásil: „Věřím tomu, že rozšířená realita navždy změní způsob, jakým budou lidé využívat nové technologie. Podnikli jsme již první velký krok, když jsme letos uvedli ARKit pro iOS 11.“
Z dostupných informací by měl mít headset nejen mikrofon ale i vlastní displej, nový čip a speciálně navržený operační systém, který je v současnosti označován jako „rOS“ (reality operating system). Inženýři společnosti Apple údajně pracují na způsobech, jakými budou uživatelé headset ovládat; včetně hlavových gest, dotykových panelů a hlasového ovládání s pomocí Siri.
Protože je však novinka ve fázi prototypu, designéři společnosti potvrzují, že prozatím používají konkurenční zařízení HTC Vive VR pro testování možností a omezení rozšířené reality zahrnující mapování, zasílání zpráv a „porad ve virtuální místnosti.“ Spuštění ARKitu na iPhonech a iPadech tak dává představu o potenciálních možnostech jeho využití, přičemž vývojáři již vytvářejí aplikace pro hry či domácí design.
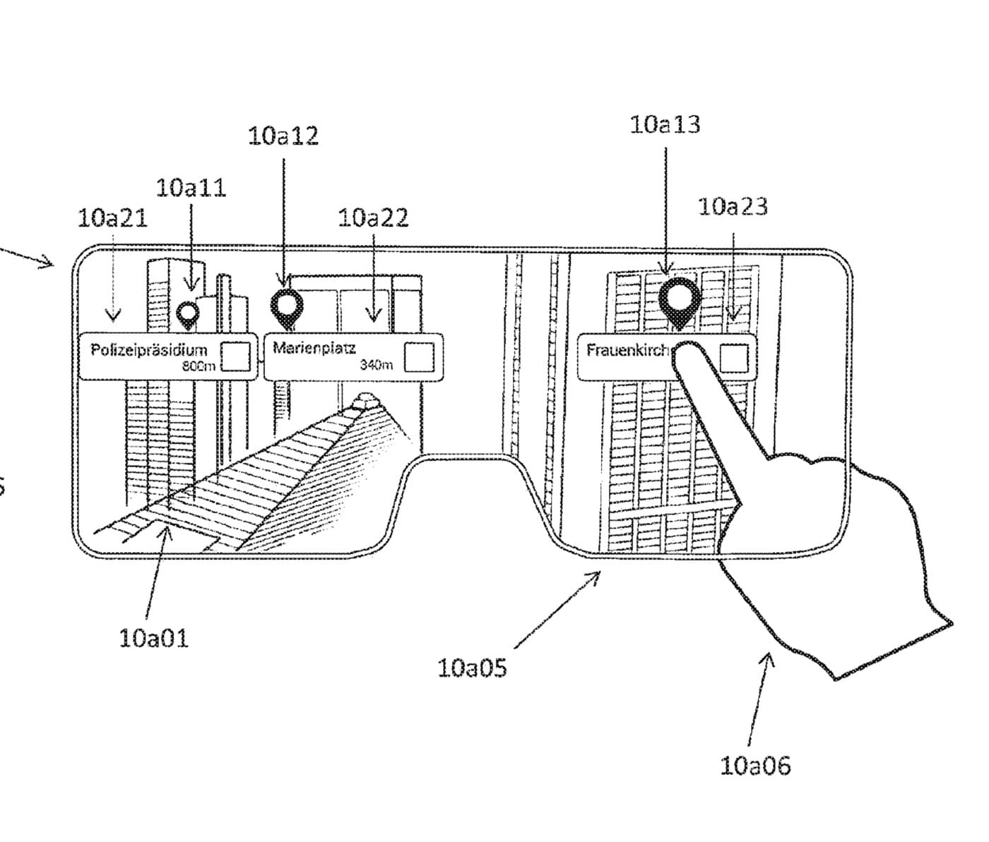
Obrázek výše ukazuje patent Applu pro brýle rozšířené reality. Je-li tato informace pravdivá, tak jde přinejmenším ambiciózní plán, jehož cílem je mít zařízení hotové do konce roku 2019. Ke spotřebitelům by se mělo dostat v roce 2020. Navzdory tomu, že v posledních letech došlo k počátečnímu nadšení z virtuální reality a náhlavních souprav, masově zatím nenalézají kýžený „boom“.
Tip: Apple se s příštím iPhonem pustí do souboje na poli AR a VR
Ale abychom to neviděli tak černě. Třeba automobilka Ford používá brýle HoloLens od Microsoftu pro vizualizaci svých nových návrhů, zatímco takový Google spoléhá, že Google Glass najdou své uplatnění třeba v továrnách. Tim Cook vidí hlavní nespornou výhodou rozšířené reality v menší izolovanosti člověka, než jak je tomu u virtuální reality. A dále tvrdí, že tato technologie je potenciálně stejně revoluční jako ve své době první smartphony.
zdroj: TheVerge
Autor článku
Bývalý redaktor webu Mobilizujeme.cz. Sepsal celkem 1810 článků.












