Patent Applu poukazuje na myšlenku skládacího zařízení
Společnost Apple si na americkém úřadu pro patenty a ochranné známky zaregistrovala koncept toho, jak by mohl fungovat skládací smartphone.
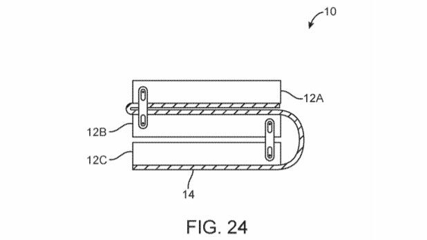
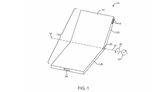
Jde o různé konstrukce, které by umožnily skládání a sklápění přístroje tak, aby se měnila jeho velikost. Několik snímků zobrazuje zařízení, které se ohýbá podél šířky obrazovky pomocí závěsu umožňujícího přehýbat přístroj buď zevnitř nebo zvenku. Další konstrukce ukazuje způsob, jakým by fungovalo složení telefonu směrem obrazovkou dovnitř.
Můžeme také vidět zařízení se dvěma závěsy, které by se při složení skládaly do tří částí, což by vyžadovalo značně flexibilní displej. Tento koncept naznačuje, že konstrukce telefonu by mohla být rozdělena a rozšiřována na více úseků.
Neexistuje žádná indicie k domněnce, že by skládací zařízení mohl být budoucí iPhone nebo iPad. Nicméně zatímco jiné společnosti pracují na skládacích přístrojích, které by ohýbáním a skládáním svůj tvar měnily za účelem zachování funkce (například nadcházející telefon společnosti Samsung Galaxy Fold), obrázky patentů společnosti Apple ukazují zařízení skládatelné za účelem zmenšení velikosti.
Je evidentní, že Apple je s konceptem skládacího zařízení stále v počátku. Neočekáváme tedy, že by iPhone s pořadovým číslem 11 měl disponovat flexibilním displejem. Apple však již několikrát dokázal, jak silným dokáže být konkurentem, pokud jde o technologické trendy.
Na toto téma si firma ChargeTech na svém Twitteru neodpustila povedený vtípek o tom, že Apple ve svém portfoliu smartphone s ohebnou konstrukcí již má.
https://x.com/getchargetech/status/1098284123905552385
zdroj: TechRadar
Autor článku
Bývalý redaktor webu Mobilizujeme.cz. Sepsal celkem 179 článků.













