Nový patent Samsungu ukazuje „automaticky“ ohebný displej
Možná je představení přelomového zařízení blíže, než si myslíme. Samsung již nějakou tu dobu pracuje na flexibilním, tj. ohebném displeji. Tyto spekulace také dokazuje nedávno zaregistrovaný patent.
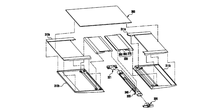
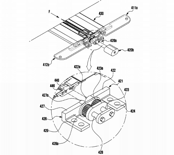
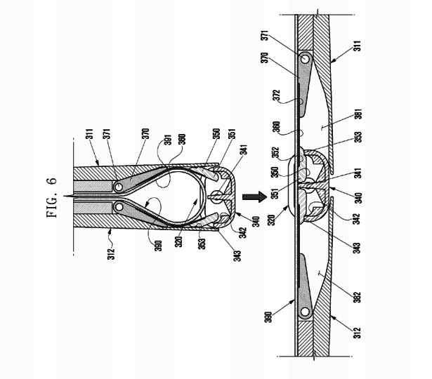
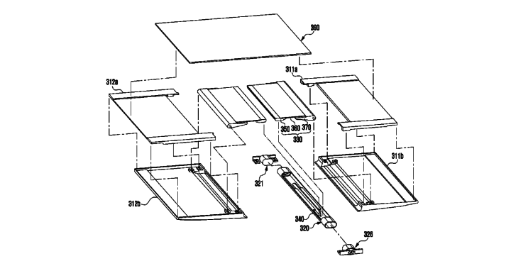
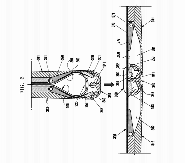
Samsung si zaregistroval a patentoval pod číslem USA 9557771 B2 jakési zařízení s ohebným displejem. Patent popisuje displej, který má uprostřed mechanický kloub a zavírá se sám do sebe.
Můžeme jen odhadovat a spekulovat, o jaké zařízení se jedná, ale je možné, že Samsung představí zcela novou řadu produktů. Také je ale možné, že ohebné displeje budou slepou větví a žádného praktického zařízení se nedočkáme.
Samsung si se zakřivením displejů hraje již delší dobu a to konkrétně od Samsungu Galaxy Note Edge. Tehdy byl tento telefon jakýsi pokusný králík a Samsung jen pozoroval uživatele a jejich reakce na zakřivený displej. Reakce byly celkem pozitivní a tak výrobce se zahnutými obrazovkami pokračoval.
Experimenty se zahnutými displeji byly vidět také na dnes již starém Galaxy Round a konkurenční odpovědi od LG v podobě G Flex a jeho dalších generací.
Mezi největší průkopníky v oblasti ohebných displejů patří zejména Samsung a LG. Tito obří výrobci nám již ukázali své prototypy flexibilních displejů na letošním i loňském CESu v Las Vegas. Vždy byl ale problém v tom, že displej se fyzicky ohýbal a bylo tak jen otázkou času, než se projeví únava materiálu v podobě mrtvých pixelů a deformace barev. Tento problém by měla vyřešit ona mechanická část.
Zdroj: Sammobile.com
Autor článku
Bývalý redaktor webu Mobilizujeme.cz. Sepsal celkem 187 článků.















